La Freebox V7 embarquera-t-elle un système d’alarme nouvelle génération ? un brevet déposé par Free en détaille le fonctionnement
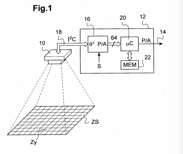
Un nouveau brevet déposé par Free (Freebox SAS) en septembre 2016 a été publié dans la base des brevets de l’INPI le 2 mars dernier. Il concerne le fonctionnement d’un “équipement autonome de surveillance de zone par capteur infrarouge passif multizone”.
Ces types de capteurs sont couramment utilisés comme détecteurs de présence. Disposés dans un endroit qui comporte plusieurs pièces (maison, appartement, bureaux, musées, salles, d’exposition, etc.) le système de détection d’intrusion (capteur et processeur couplé à une mémoire) est en mesure de compter le nombre de personnes présentes et établir un suivi des déplacements grâce à un algorithme.
“L’idée de base de l’invention réside dans l’utilisation d’un capteur PIR de type PIR multizone, produisant une image bidimensionnelle formée d’une matrice (grille) de cases correspondant à des zones élémentaires adjacentes de la zone à surveiller, avec pour chaque case un signal respectif de présence/absence de source de chaleur à un instant donné. Une source de chaleur detectée dans la zone à surveiller pourra être ainsi suivie de façon précise, sur une grille représentative de la topographie de la zone à surveiller” peut-on ainsi lire dans le brevet.
L’équipement autonome de surveillance de zone décrit se compose d’un capteur infrarouge passif multizone, à disposer dans la zone à surveiller, qui délivre des signaux, ainsi que d’un processeur (doté d’une mémoire pour l’historique des positions) qui analyse ces signaux pour déterminer les déplacements des personnes présentes dans le lieu et leur nombre. Le tout est couplé à un algorithme de détection qui repose sur l’analyse de trois grilles correspondant aux différentes zones du capteur.

La mémorisation de l’historique des états successifs de la grille dynamique délivrée par le capteur rend inutile l’utilisation de détecteur périmétrique et permet par ailleurs de savoir combien de personnes se trouve dans la pièce surveillée.
Dans l’invention le processeur est configuré pour effectuer un suivi des cibles détectées et donner l’alerte en fonction du trajet de la cible et du type de zones (autorisée, sécurisée ou de traversée).
L’invention permet de réduire les coûts d’installation d’un tel dispositif. En effet la présence d’une caméra pour assurer le suivi des déplacements n’est plus nécessaire et les pièces n’ayant pas d’accès vers l’extérieur n’ont plus besoin d’être équipées. Le détecteur n’a pas besoin d’être relié à une centrale d’alarme et peut déclencher une alerte même en étant déconnecté de la centrale. L’alarme peut rester en fonctionnement 24h sur 24h même la nuit du fait que les déplacements internes au local seront détectés comme tels et ne seront pas considérés comme suspects.
Retrouvera-t-on l’invention décrite dans ce brevet dans la Freebox V7 ? Seul l’avenir nous le dira…